1394針腳定義圖

1394A 端口
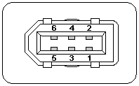
六針腳1394插頭——IEEE 1394-1995:
Pin No. Signal Name Signal Inter Connection
Inter Connection with i-Link
1 VP Cable power 1
2 VG Cable ground 2
3 TPB* Strobe on receive, data on transmit (differential pair) 5 1
4 TPB 6 2
5 TPA* Strobe on receive, data on transmit (differential pair) 3 3
6 TPA 4 4

1394B 端口
四針腳1394插頭i-Link: 4-pin type IEEE 1394-1995
Pin No. Signal Name Signal Inter Connection
Inter Connection with 1394-1995
1 TPB* Strobe on receive, data on transmit (differential pair) 3 5
2 TPB 4 6
3 TPA* Strobe on receive, data on transmit (differential pair) 1 3
4 TPA 2 4
